
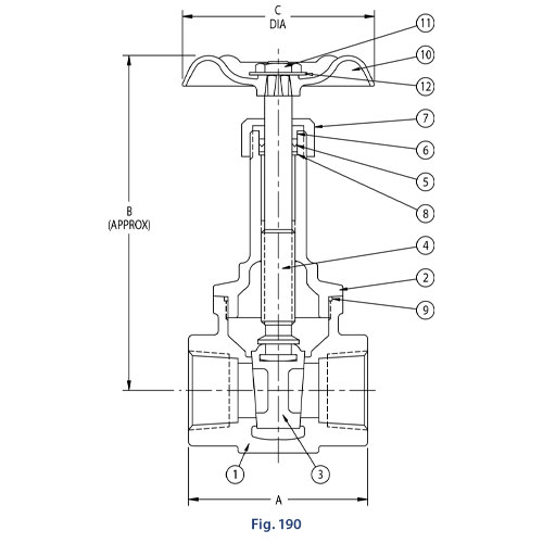
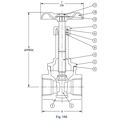
ALOYCO 190EC02020 FIG 190 Gate Valve, 2" Nominal, FNPT End Style, 200 CWP, Stainless Steel Body, Threaded Bonnet, Solid Wedge Disc
CBPN: 265823
MPN:190EC02020
Price:
$854.20 / EA
DESCRIPTION
ALOYCO Gate Valve, Figure 190, 2 in Nominal, FNPT, 200 CWP, CF8M Stainless Steel Body, Threaded Bonnet, Non-Rising Stem, Solid Wedge Disc
**This item may be subject to a minimum order quantity.**
ALOYCO 190EC02020 FIG 190 Gate Valve, 2" Nominal, FNPT End Style, 200 CWP, Stainless Steel Body, Threaded Bonnet, Solid Wedge Disc
CBPN: 265823
MPN:190EC02020
Price:
$854.20 / EA
Specifications
Brand: Aloyco®
Weight: 7 lbs
Nominal Size: 2 in
End Style: FNPT
Pressure Class: 200 lb
Body Material: Stainless Steel
Softgoods Material: PTFE
Actuator Type: Handwheel
Hand Wheel Diameter: 4 in
Inlet to Outlet Length: 3.8 in
Manufacturer Name: Crane ChemPharma Energy
Top to Inlet Center: 6.6 in
Trim Material: API Trim 10 (316SS)
Domestic/Import: Import
Country of Origin: CH
Standards and Approvals: MSS SP-42, ASME B16.34
Item Features
- Solid Wedge Disc
- Bolted Bonnet
- Non-Rising Stem
- Integral Seat
- API Trim 10 (316 SS)

